Products製品
-
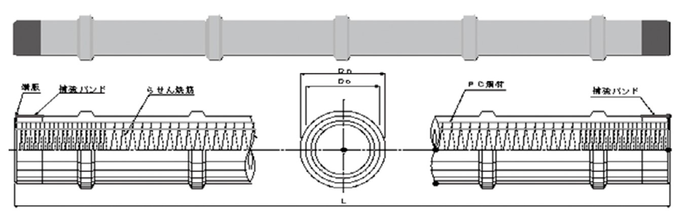
SC杭
外殻鋼管付きコンクリート杭
Method工法
-
HYPER-MEGA工法
拡大ヘッドと螺旋部分に切り欠きを有するスリットスクリュー・攪拌ロッド等を用いて、適宜掘削液を吐出しながら所定の深度まで掘削した後、拡大ヘッドの拡大翼を拡翼させ、杭周充填液を吐出しながら、拡大根固め部長さLg以上、杭長の50%以下の長さの範囲を拡大掘削するとともに上下反復し、杭周充填液と掘削土砂を攪拌混合する。
その後、先端部において、根固め液を注入しながら所定範囲を上下反復して根固め部を築造する。
拡大ヘッドによる拡大掘削径Deは、基準掘削径=Don+0.05mの1倍から2倍で任意の値を取れる。Donは根固め部に位置する節杭の節部径であり、De/Dsを拡大比ωと呼ぶ。
このように築造した掘削孔内に節杭のみ、あるいは節杭+ストレート杭を建て込み、地盤に定着させ、杭本体と根固め部及び地盤との一体化を図り、支持力を発現する工法である。 -
無溶接継手孔(ペアリングジョイント:略称PJ⇒リング嵌合方式)













